为深入学习宣传贯彻党的二十大精神,以更加昂扬的姿态奋进新征程、建功新时代,11月3日下午,能源研究所党支部书记范敏带领全体党员赴方志敏烈士陵园,开展“自信自强、守正创新、踔厉奋发、勇毅前行”主题党日活动。
“方志敏出生在江西省弋阳县漆工镇湖塘村一个农民家庭……”跟随讲解员的脚步,大家浏览馆中陈列的大量资料、文献,认真倾听讲解员的讲解,并不时驻足仔细观看,相互交流讨论,详细了解了当年方志敏等革命先烈在赣东北的革命斗争史,感受早期共产党人所走过的充满磨难的历程和他们高尚的人格魅力。“现在的人很难再体会到当年革命生活的艰辛,更加需要艰苦奋斗”有党员感悟时说到。
通过本次主题党日活动,能源所全体党员深受教育、倍感鼓舞,大家纷纷表示,要永远铭记革命先烈们的英雄事迹和奉献精神,弘扬伟大建党精神,赓续红色血脉、传承红色基因,勇于创新,攻坚克难,为加快实现高水平科技自立自强、全面建设社会主义现代化国家而团结奋斗!


高体积分数纳米结构相增强NiTi记忆合金复合材料的研制与功能特性研究
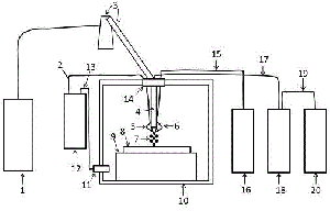
2020-07-20一种钛合金的激光3D打印装置【授权实用新型CN202021830599.9】
2021-04-20
2019-06-03
2016-04-01