今天是:
科研成果
当前位置:首页 > 科研成果

一种调节营养液深度的LED立体家用栽培装置【授权发明专利】

来源:生物资源研究所    更新时间:2024-04-22    浏览:2401
【字体:

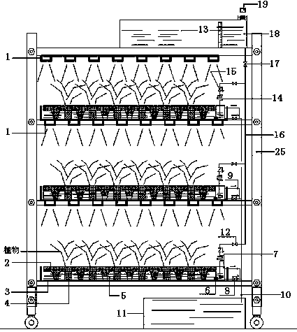
一种调节营养液深度的LED立体家用栽培装置,由营养液供液系统、LED光照系统和栽培系统和支撑架(25)组成。营养液供补系统通过阀门和管道将营养液送至栽培系统;LED将光照提供栽培系统植物生长。栽培系统包括种植格(2)、种植盘(3)、植物定植海绵(4)和水温调节电热丝(5)。每个种植盘的上方都安装了LED光源(1)。营养液供补系统包括营养液箱(18)、联通管(16)、总控制阀(17)、止回阀(15)、侧液箱(7)、溢流管(9)、余液回收箱(11)。本发明不需用电实现营养液的自动补充,同时在一个营养液系统中实现深液流、浅液流以及深浅液层相结合的多种水培方式,使植物能获得全面的营养。本发明省力、简单、安全,适合家庭种植使用。

申请号:CN201510004849.0

授权公告号:CN104542233B

授权公告日:2017.06.16

发明人:周华  徐银保  黄勇  余发新  刘淑娟  

当前权利人:江西省科学院生物资源研究所