今天是:
科研成果
当前位置:首页 > 科研成果

一种用于人工湿地植物基质生产的混料一体搅拌装置【授权实用新型 CN202021818395.3】

来源:流域生态研究所    更新时间:2021-04-27    浏览:7734
【字体:

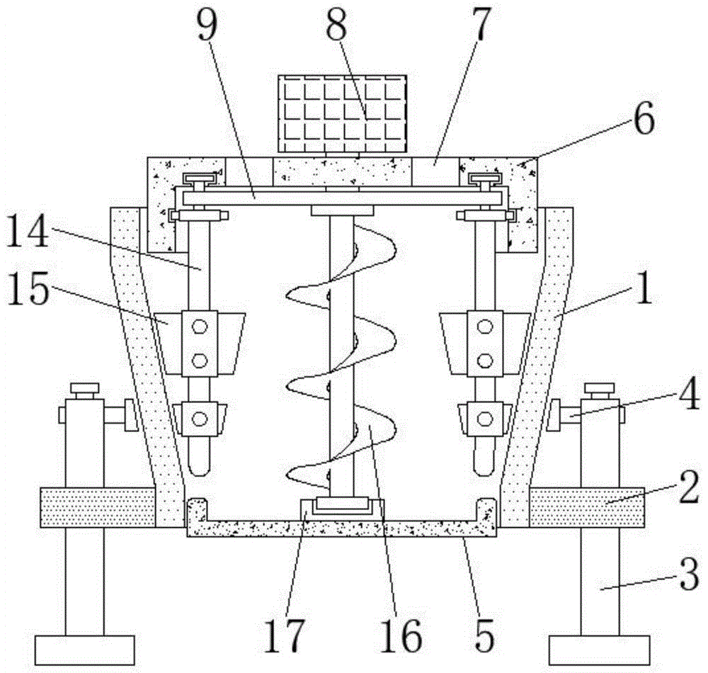
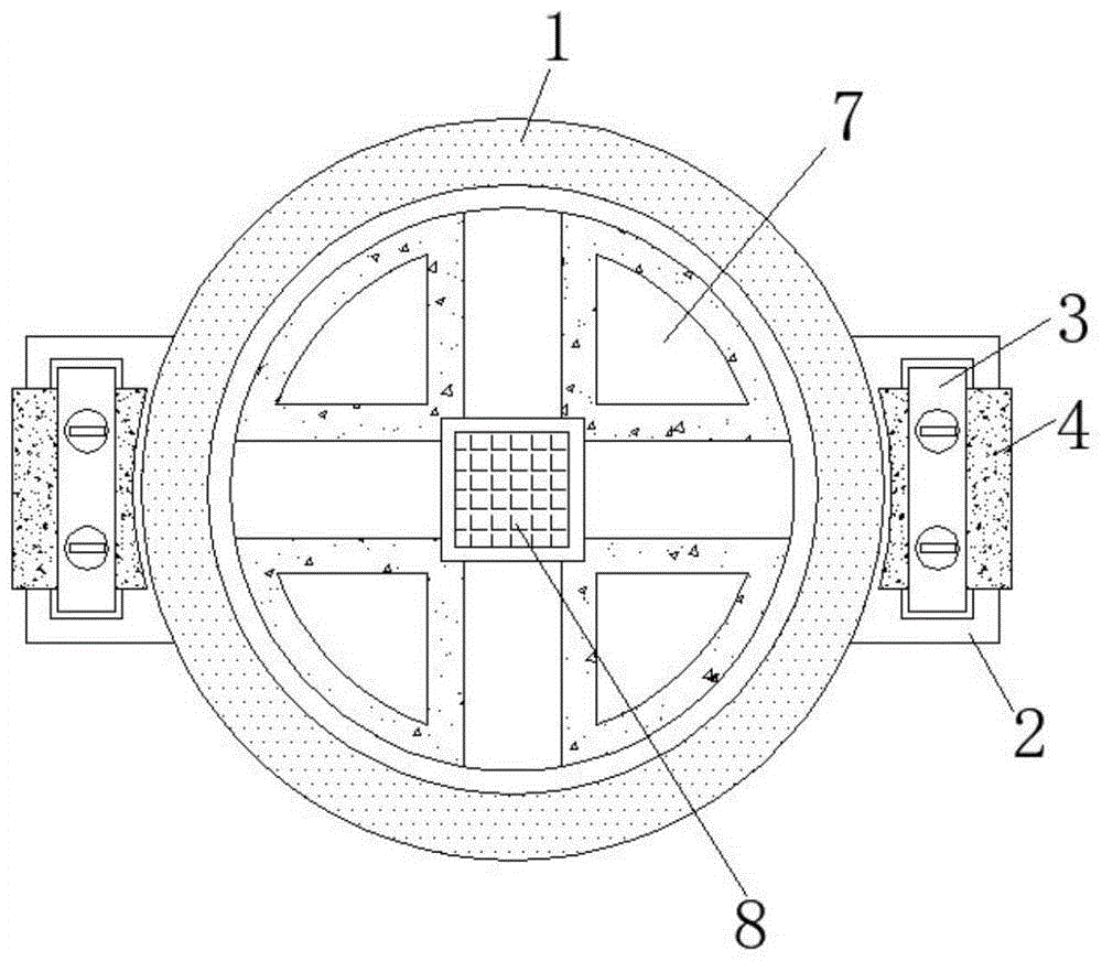
本实用新型公开了一种用于人工湿地植物基质生产的混料一体搅拌装置,包括框架,框架的下端表面外侧安装有安装板,且安装板的内部连接有支撑柱,并且支撑柱的上端内侧贯穿有固定板,框架的下端内侧设置有底板,且框架的上端内侧连接有顶板,顶板的外侧表面开设有通孔,且顶板的中部上端表面连接有电机,电机的下侧连接有转杆,转轴的下端安装有转盘,转盘的下端安装有竖杆,且竖杆的下部外侧套有刮板,转杆的中部下端安装有内搅拌杆,且内搅拌杆的下侧和底板相互连接,并且内搅拌杆和底板的连接处设置有防护垫。该用于人工湿地植物基质生产的混料一体搅拌装置,能够将框架内部残留的原料进行清洁,提高了该装置的实用性。

专利权人:江西省科学院

发明人:游海林;吴永明;徐力刚;刘丽贞;姚忠;辛在军;杨春燕

联系人:刘卓荣  电话:0791-88177006,13177821807