今天是:
科研成果
当前位置:首页 > 科研成果

一种用于食品检测的样品智能保存装置【授权实用新型CN201911184544.7】

来源:应用化学研究所    更新时间:2021-04-06    浏览:7331
【字体:

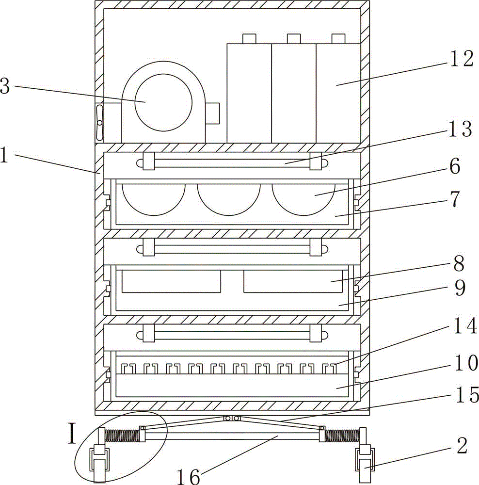
本实用新型公开一种用于食品检测的样品智能保存装置,其包括保存柜,保存柜顶部转动连接有提手,底部四角均安装有万向轮;保存柜由上至下通过横隔板分割形成控制腔、至少一个储物腔和工具腔,控制腔内设置有制冷器、蓄电池,控制腔的前侧板上安装有控制面板,控制面板与制冷器、蓄电池电连接;储物腔、工具腔内顶部的隔板上均安装有若干个紫外线杀菌灯,储物腔内安装有抽拉式储物盒,抽拉式储物盒内设有储物槽,储物槽呈矩形阵列分布;工具腔内安装有抽拉式工具盒,抽拉式工具盒顶部固定安装有若干个定位卡扣,多个提取工具分别通过若干个定位卡扣安装在抽拉式工具盒中。本实用新型能够对不同食品的样品分开保存且进行保鲜处理,保存环境好。


专利权人:江西省科学院应用化学研究所

发明人:韩晓丹;胡居吾;王慧宾;熊伟;吴磊

联系人:刘卓荣  电话:0791-88177006,13177821807