今天是:
科研成果
当前位置:首页 > 科研成果

一种野外鱼类血液采集辅助装置【授权实用新型CN202020047294.4】

来源:流域生态研究所    更新时间:2020-11-25    浏览:7701
【字体:

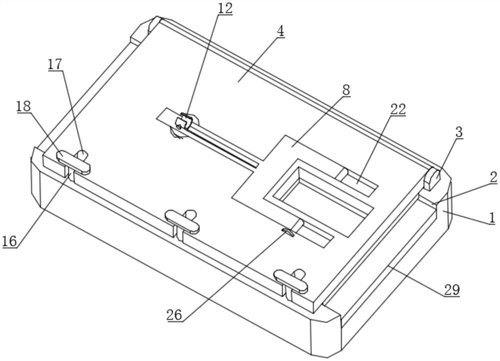
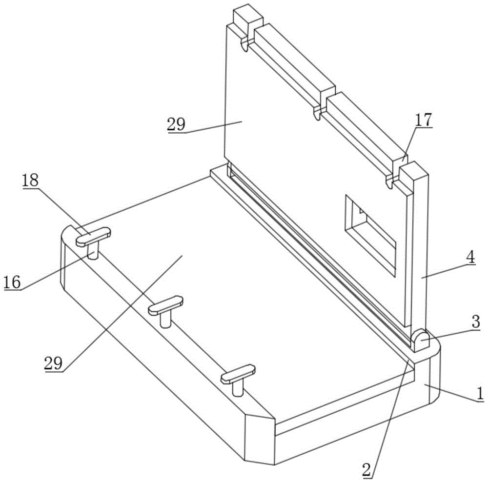
本实用新型公开了一种野外鱼类血液采集辅助装置,包括底座,底座的上侧面开有放置槽,底座上侧面的一侧通过连接座转动连接有盖板,底座上侧面的另一侧设有用于固定盖板的卡接机构,连接座的下端延伸至底座内部开有的空槽的内部并与空槽槽底上固定连接有的第一弹簧固定连接,盖板上开有穿刺口,且盖板的外侧面上转动连接有辅助杆,辅助杆通过其上开有的贯通槽滑动连接有滑杆,滑杆的一端固定连接有滑块,另一端固定连接有用于夹持针筒的卡套,本装置可以在不伤害鱼类的情况下将鱼体固定,从而方便对目标鱼体进行血液采集。

 

专利权人:江西省科学院

发明人:刘煜;邓觅;涂文清;吴永明;杨春燕

联系人:刘卓荣  电话:0791-88177006,13177821807