今天是:
科研成果
当前位置:首页 > 科研成果

一种无氧球磨装置【授权实用新型CN201921270184.8】

来源:原创    更新时间:2020-05-12    浏览:8811
【字体:

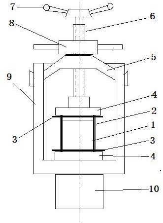
一种无氧球磨装置,包括球磨机、球磨罐(1)、手套箱、真空包装袋(2)和真空封口机。所述球磨罐装在真空包装袋内,由真空封口机抽真空并密封;装有球磨罐的真空包装袋在夹具(4)的夹持下进行无氧球磨。所述夹具与包裹球磨罐的真空包装袋(2)之间垫上一层气泡膜塑料纸(3)。所述球磨机为立式结构,包括钢筒架(9)、夹具、螺杆(6)、扒杆架(5)、紧固螺母(8)、螺杆扳手(7)和旋转主轴(10)。本实用新型装置对于各种材质和尺寸的球磨罐,都可以快速实现在无氧条件下进行球磨;无需价格昂贵的真空球磨罐或者额外的密封外套,只需价格低廉的真空封口机和真空袋,实施的成本大大降低。

getOneBooksImg.gif

专利权人:江西省科学院应用物理研究所

发明人: 王超敏;蒋智梅;邹晋;谌昀

联系人:刘卓荣  电话:0791-88177006,13177821807